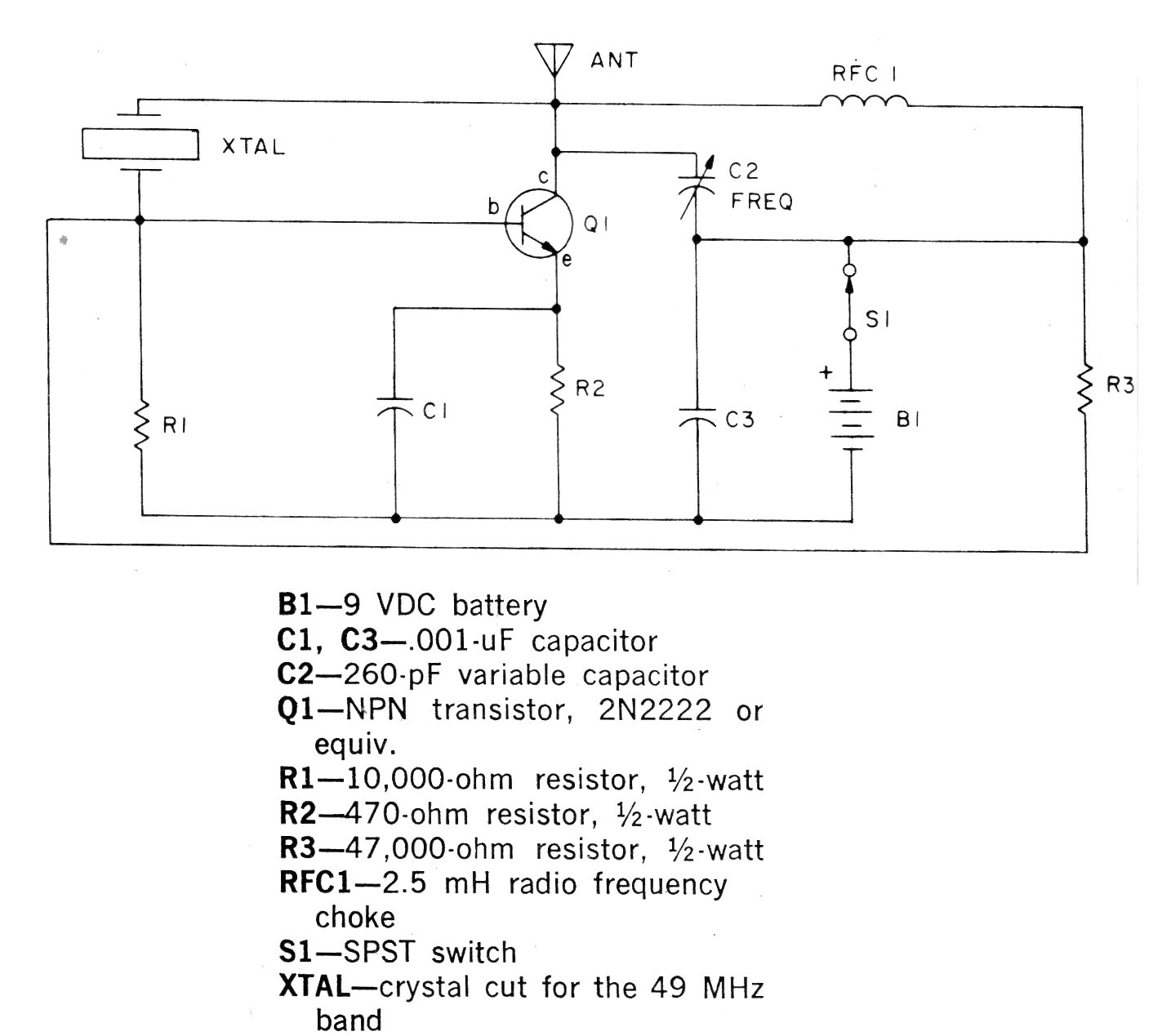
Este circuito se obtuvo en la publicación 101 Electronics Projects de 1979. El circuito se puede montar fácilmente, ya que todos los componentes son comunes. El transistor también puede ser el BD135. El circuito emite una señal continua que permite su localización, como en el juego Caza a Raposa, en la que los participantes deben localizar el transmisor por su señal. La alimentación puede ser hecha con tensiones 9 V de pilas grandes para mayor autonomía.




