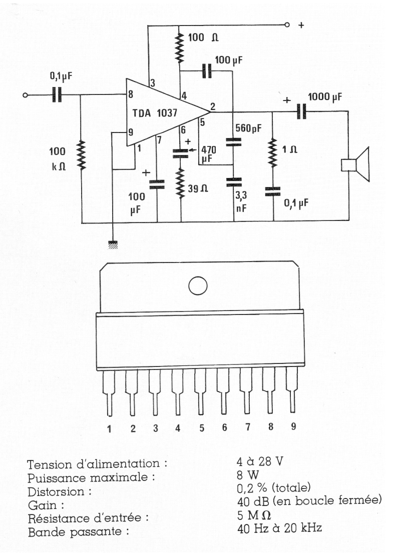
El circuito tradicional fue retirado de una revista francesa Radio Plans que ya no existe, pero puede ser montado desde que se encuentre el CI, que no es muy común. La potencia de salida depende de la tensión de alimentación.

 

Amplificador de 8 W con el TDA1037
Amplificador de 8 W con el TDA1037 | Haga click en la imagen para ampliar |