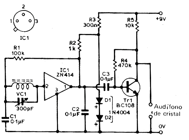
Originalmente, este circuito es de una revista inglesa, pero lo encontré en la Revista Radio Chassis Televisión de Argentina, en una edición de 1978. L1 consta de 80 a 100 vueltas de hilo 28 en un bastón de ferrita. En la salida tanto podemos conectar un auricular como la entrada de un amplificador. Para las estaciones más débiles utilice una antena. El integrado es el elemento crítico del circuito, ya que es difícil de obtener actualmente. Utilice el BC548 en lugar del BC108.




