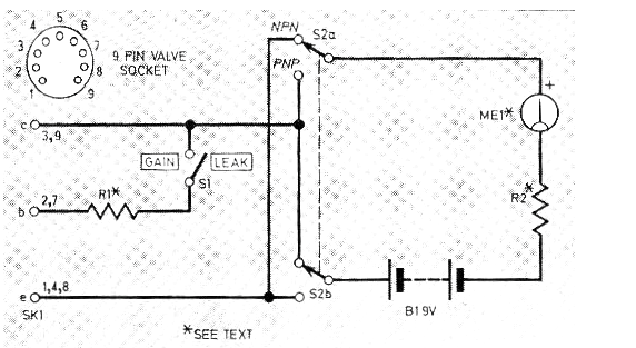
Este circuito fue encontrado en una revista inglesa de 1979. La revista ya no existe, pero el circuito puede ser montado con facilidad, pues utiliza componentes comunes. El resistor R1 puede ser alterado, según el rango de ganancias de los transistores probados.




