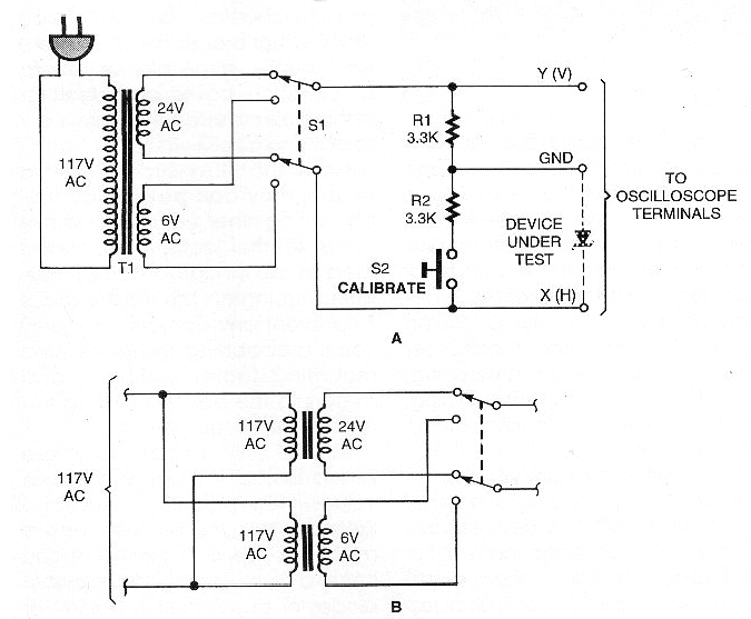
La revista Poptronics ya no existe, pero encontramos en su edición de mayo de 2000 este circuito simple para la prueba de diodos usando un osciloscopio. Los resistores deben ser por lo menos 1 W de disipación El transformador tiene un secundario de 200 mA o más. La segunda opción es para el uso de dos transformadores separados.




