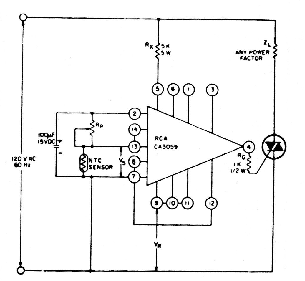
La carga de este circuito depende del triac y el circuito integrado utilizado es poco común actualmente. El circuito es de una documentación de los años 80. El triac debe estar dotado de disipador de calor.
Una lámpara neón polarizada cerca del punto de disparo se convierte en un sensible detector de...
Aumente la intensidad del sonido de su bocina piezoeléctrica con el circuito que presentamos. Este oscilador...
El circuito mostrado en la figura 1 proporciona una corriente constante (IL) para dos o más LEDs con...