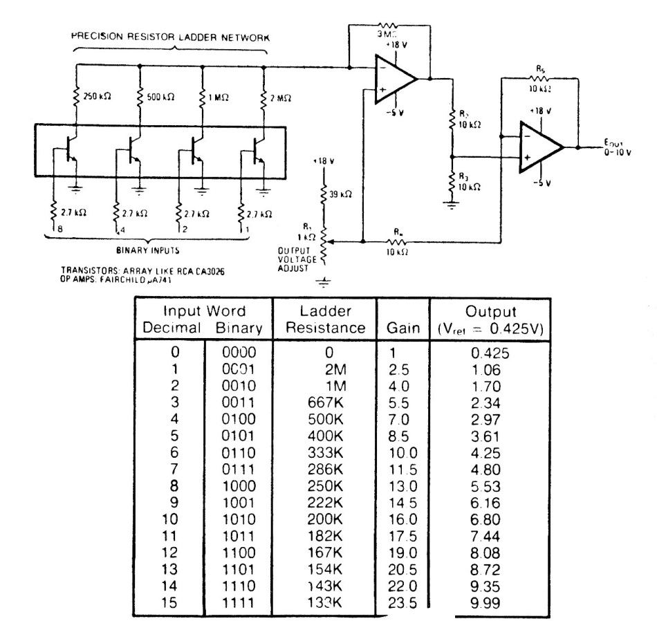
Este convertidor AD utiliza componentes comunes, pudiendo ser implementado con base en operativos modernos. El circuito es de una documentación de los años 80. La tabla muestra las tensiones de salida en función de la programación digital de entrada.




