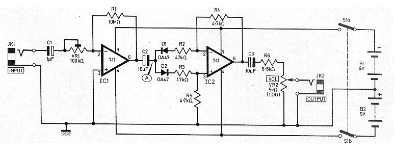
He encontrado este circuito en una revista de 1977. La revista ya no existe, pero el circuito puede ser montado con facilidad, pues todos los componentes utilizados son comunes. La alimentación se realiza por dos baterías de 9 V y el circuito debe ser intercalado entre la salida de la guitarra y la entrada del amplificador.




