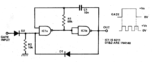
He encontrado este circuito de shield en un artículo de la revista Electronics Today International de julio de 1979. Se trata de una configuración de astable utilizando dos puertas de un circuito integrado 4011. En este circuito el disparo es hecho por el nivel alto en la entrada. El diodo y la resistencia consisten en una mejora para evitar el ruido presencia en el disparo de la versión (1). En la sección de descargas simuladas también tenemos esta configuración en funcionamiento. Finalmente, en la sección de matemáticas para electrónica tenemos las fórmulas para calcular la frecuencia de este circuito. La alimentación se puede realizar por tensiones de 5 a 15 V.




