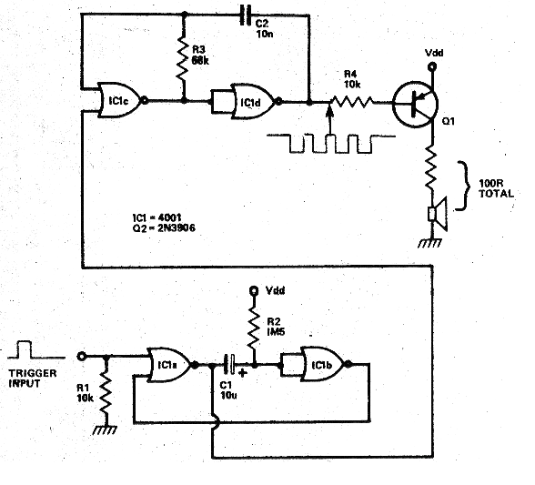
He encontrado este circuito en un artículo de la revista Electronics Today International de julio de 1979. Se trata de una configuración de monoestable utilizando dos puertas de un circuito integrado 4001 que dispara un oscilador hecho con las otras dos puertas del mismo circuito integrado. El circuito emite sonido durante 10 segundos aproximadamente y luego se apaga. El transistor puede ser el BD136 y con este componente, se puede conectar directamente un altavoz de 8 ohms. Para un BC558, se recomienda una salida con impedancia mayor, en el caso, un total de 100 ohms. Vea en la sección de descargas cursos Curso de Electrónica Digital más sobre este tipo de circuito. En la sección de matemáticas para electrónica tenemos las fórmulas para calcular la frecuencia de este circuito. La alimentación se puede realizar por tensiones de 5 a 15 V.




