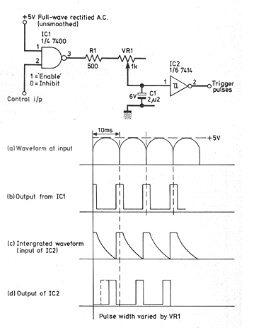
La interesante idea práctica presentada fue encontrada en una revista que ya no existe. Se trata de una Practical Wireless de mayo de 1980. En ella el autor del proyecto muestra cómo los circuitos lógicos TTL se pueden utilizar para producir los relojes para un Triac o SCR en un control de potencia. El circuito se sincroniza con la red de energía. En el original la red de energía es de 50 Hz, pero prácticamente no son necesarios cambios para operación en 60 Hz pues los ajustes en VR1 compensan las diferencias. R1 puede ser de 470 ohms que es el valor comercial más cercano a nuestros tiempos.




