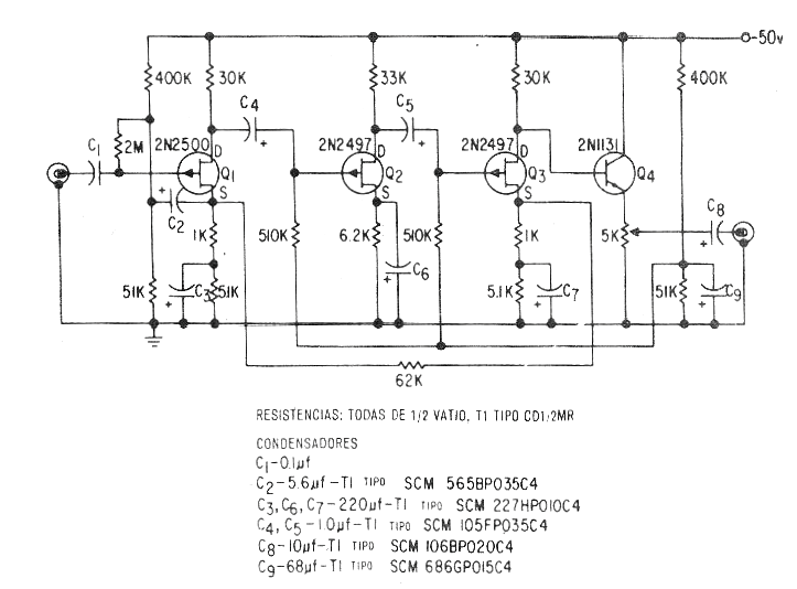
Este circuito fue encontrado en la revista Argentina Radio Chasis Televisíon de marzo de 1974. Esta revista ya no existe, pero existen muchos proyectos que pueden ser montados, bastando intercambiar algunos componentes por equivalentes más modernos. En este circuito tenemos cuatro etapas de amplificación con FET que pueden ser los BF245 y un paso con un transistor común que puede ser un tipo de baja corriente y por lo menos 80 V de tensión Vce. Observe la alta tensión de alimentación. La corriente consumida es muy baja.




