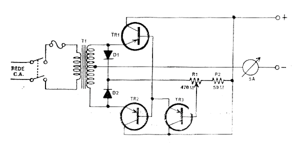
Me encontré este circuito en una revista francesa Radio Constructeur de 1968, salva de inundación (de ahí el escaneado un tanto como borrado). Este circuito simula una fuente conmutada con SCR usando transistores comunes. Los transistores son del tipo de potencia de acuerdo con la tensión y corriente deseadas en la salida. Un instrumento permite monitorear la corriente de salida. El transformador tiene tensión y corriente de secundario de acuerdo con lo deseado en la salida.




