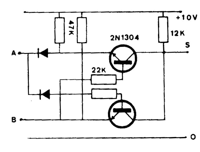
Los diodos son de uso general y los transistores también en este circuito de puerta Exclusive-OR o OU-Exclusivo. El circuito puede tener los valores de los resistores alterados para la lógica de 5 V.
Un comparador de tensión de precisión, usando diodo zener como referencia puede ser implementado con un...
Este pequeño radio experimental, muy simple, capta bien las estaciones locales de la banda de...
El oscilador rectangular presentado en la figura hace uso de una de las cuatro puertas NAND de un...