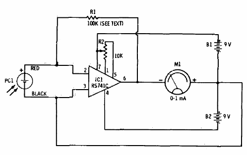
Este simple fotómetro fue encontrado en un manual de Radio Shack de 1977. El sensor es una foto-célula, pudiendo ser aprovechada de una calculadora fuera de uso. El instrumento es un miliamperímetro que también puede ser de 200 uA. La ganancia es dada por R1 que se puede cambiar.




