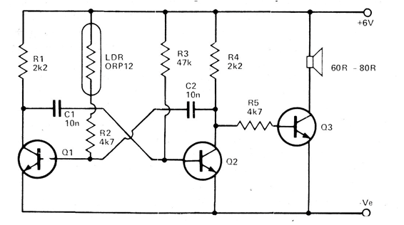
Esta configuración tradicional de multivibrador utiliza un LDR como sensor. El circuito emite sonido cuando recibe luz. Los transistores Q1 y Q2 pueden ser BC548 y Q3 puede ser un BD135 o TIP31. La alimentación, en realidad, se puede hacer con tensiones entre 6 y 12 V.




