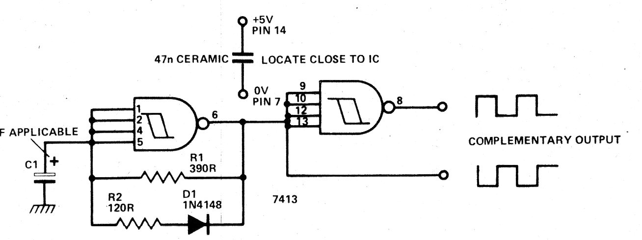
Para C1 de 220 pF este circuito genera una señal de 10 MHz. Otras frecuencias se pueden obtener con valores proporcionales de este componente, recordando siempre el límite del circuito integrado. La alimentación debe realizarse con una tensión de 5 V. El circuito se encontró en una publicación de 1979.




