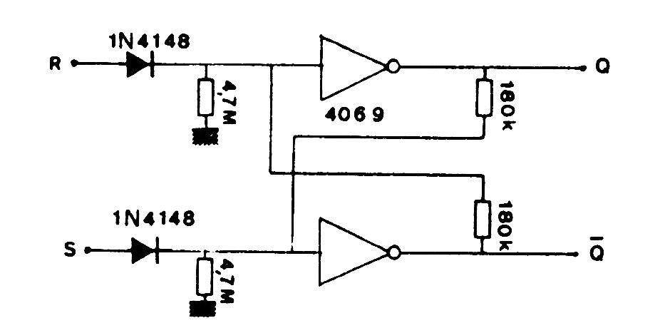
En la figura tenemos el modo de controlar un flip-flop con el 4069 a partir de pulsos positivos. El circuito puede ser utilizado como shield, si se alimenta por 5 V.
Este circuito hace que un relé cierre sus contactos alimentando una carga por un cierto tiempo...
Este pequeño radio para la banda AM utiliza cuatro transistores con un amplificador complementario para...
Este circuito de sólo 3 componentes hace que una pequeña lámpara parpadee con el sonido de su...