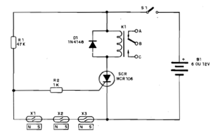
La cantidad de sensores (reed) puede ser aumentada indefinidamente y la longitud de los hilos que los conecta puede ser muy grande (más de 100 metros) lo que posibilita la protección de grandes áreas. La alimentación debe tener aproximadamente 2 V a más que la tensión del relé para compensar la caída de tensión en el SCR disparado. El consumo en la condición de espera es muy bajo y se pueden utilizar SCR equivalentes como el TIC106.




