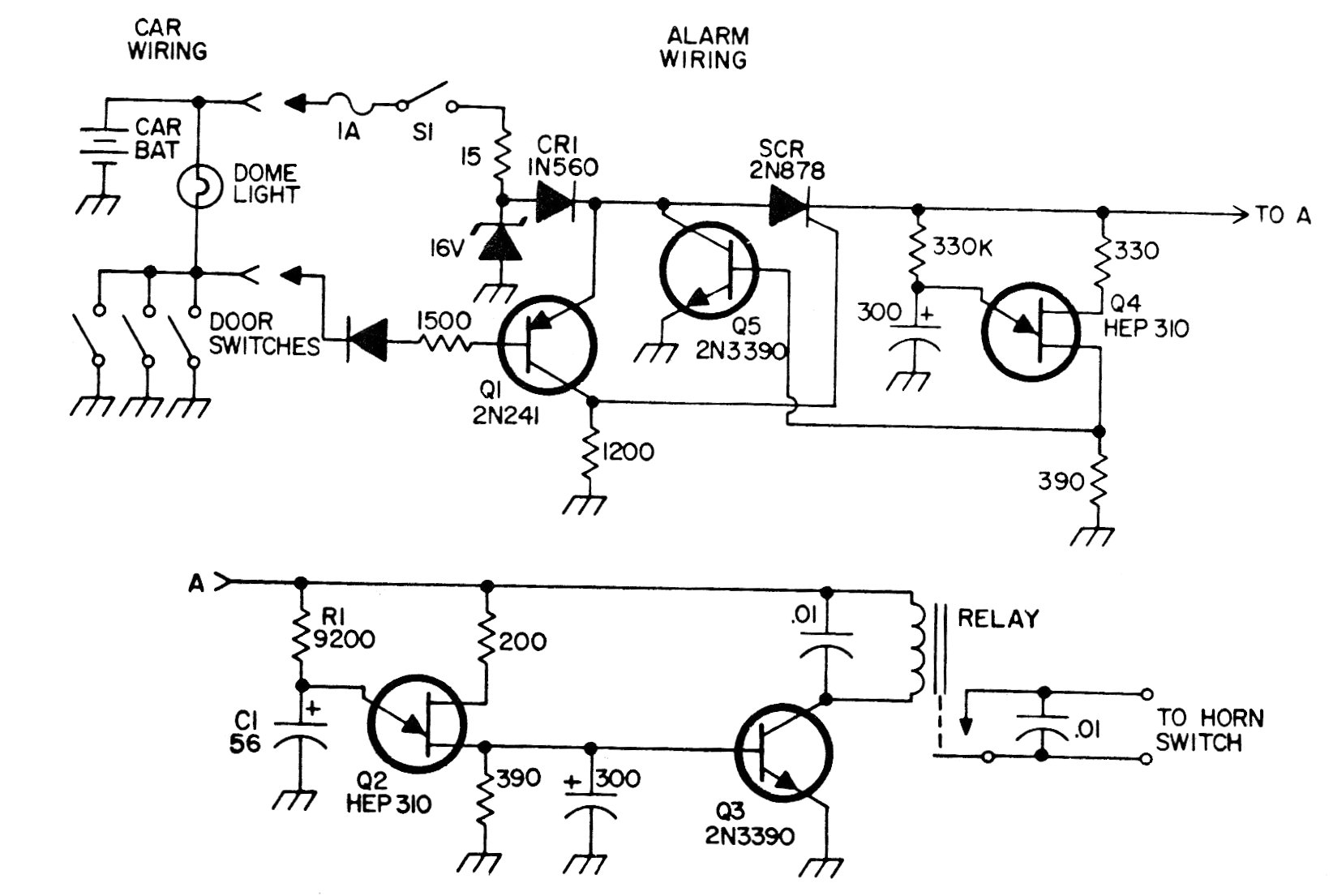
Este circuito fue encontrado en una publicación americana de los años 70. El circuito hace uso de componentes de la época que pueden ser sustituidos por equivalentes modernos. Este circuito tiene un reset después de 1,5 minutos. El relé es de 12 V de alta corriente.




