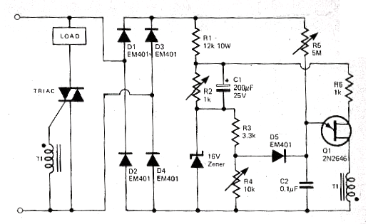
Encontramos este circuito simple en una publicación inglesa denominada Electronic Circuit Design en el 3 de la primavera de 1980. El circuito puede mantener constante la tensión en cargas como lámparas incandescentes y elementos de calentamiento con potencia máxima que depende del Triac, independientemente de las variaciones de la tensión de la red. Los diodos son todos 1N4004 o 1N4007 y T1 se enrolla en un bastón de ferrita que consiste en aproximadamente 100 + 100 espiras de hilo 28 o 30 AWG. Vea que el sentido de las bobinas debe ser observado. El triac puede ser cualquiera de la serie TIC según la carga alimentada. El circuito funciona tanto en la red de 110 V como 220 V. El potenciómetro de 5 M puede ser sustituido por el valor comercial actual que es 4M7. Recomendamos la conexión en serie con este potenciómetro de un resistor de 100k, no previsto en el circuito original.




