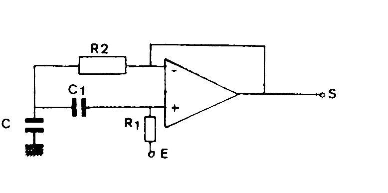
Este filtro, encontrado en un manual antiguo, tiene características de sobretensión reducida dada por el gráfico junto al diagrama del circuito anterior. Las fórmulas para los cálculos de los componentes son las mismas del circuito anterior. Se pueden utilizar amplificadores operacionales de cualquier tipo.




