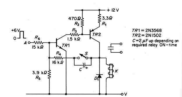
Este sofisticado control temporizado de relés se ha encontrado en documentos de 1968. El circuito controla un relé con varios tipos de señales producidas por las teclas. La fuente de alimentación es de 12 V, de acuerdo con los tipos de relé utilizados.




