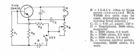
Este circuito es del antiguo manual de transistores de la RCA de 1964. El transistor puede ser el BC558 y el auricular debe ser del tipo magnético de alta impedancia.

Este circuito es del antiguo manual de transistores de la RCA de 1964. El transistor puede ser el BC558 y el auricular debe ser del tipo magnético de alta impedancia.
