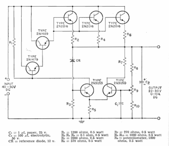
Encontramos este circuito en el manual de transistores de la RCA de 1964. Los transistores son poco comunes actualmente, pero para los transistores de potencia se pueden utilizar los 2N3055. Para el 2N4889 se puede utilizar el TIP31 y los demás pueden ser BD135.




