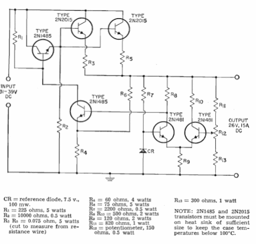
Este regulador fue encontrado en el manual de transistores de la RCA de 1964. Los transistores de potencia pueden ser los 2N3055 y la tensión de salida es determinada por el diodo zener y el ajuste de R12. Los demás transistores también admiten equivalentes.




