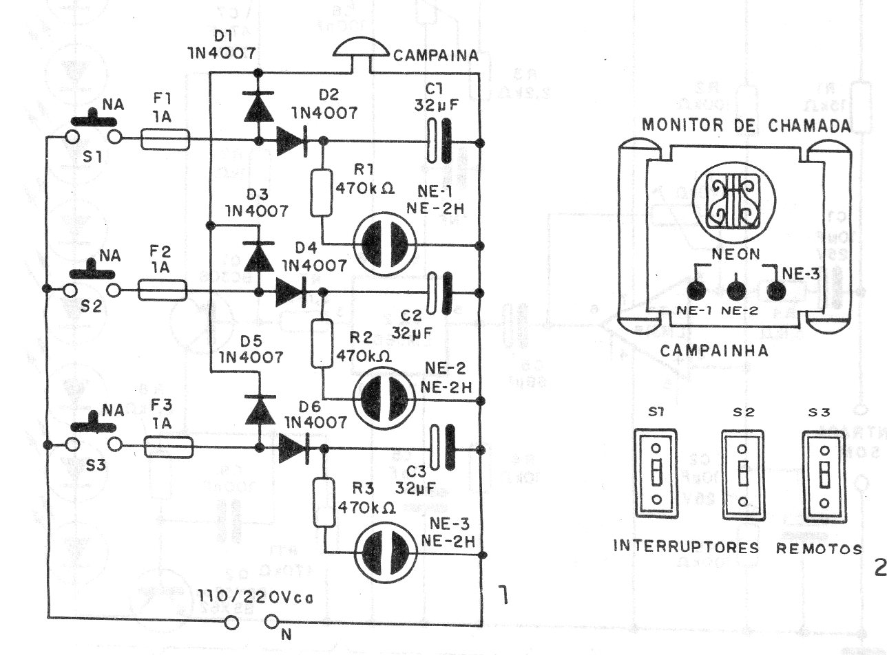
Este circuito muy simple de una documentación de 1995 permite saber cuál es el botón de entrada que fue accionado cuando un timbre suena. Este circuito es interesante cuando el timbre puede ser accionado a partir de tres entradas diferentes en una residencia u otro lugar. Las lámparas de neón son comunes del tipo NE-2H o equivalentes.




