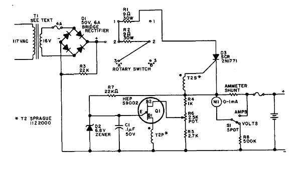
La corriente de carga de este circuito encontrado en una antigua documentación de telecomunicaciones es de 3 A, que es la corriente del secundario del transformador. Los diodos pueden ser los 1N4002 y el SCR puede ser un TIC106. El transistor unijunturaes el 2N2646 y T2 consiste en un transformador de pulsos con relación de espiras de 1: 1. El fusible es de 5 A.




