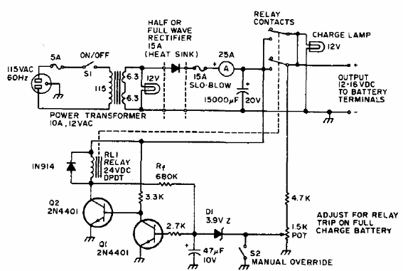
Encontramos este circuito en una publicación para radioaficionados de 1976. El circuito puede ser montado con transistores BD135 y el diodo rectificador debe ser de 20 A, así como el transformador. El ajuste para el desarme cuando la batería está cargada se realiza en el trimpot.




