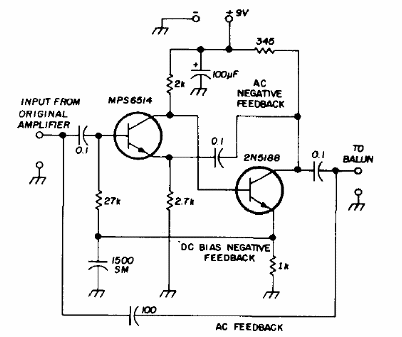
La finalidad de este circuito, encontrado en una documentación para radioaficionados de 1974, es amplificar ruidos en el rango de 20 metros para prueba de antenas. El circuito opera entre 1,8 MHz y 39 MHz y tiene una ganancia de 10 a 20 dB. Los transistores pueden ser los BF494.




