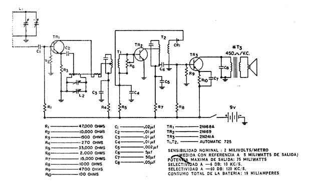
Encontramos este circuito en una documentación de 1958. En ese momento estos receptores simples eran comunes. El circuito utiliza transistores de germanio originalmente y es adecuado para la gama de onda media. La bobina puede estar hecho con 30 + 70 vueltas de alambre 26 o 28 en una barra de ferrita.




