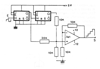
Este circuito con osciladores TTL y un operacional 741 fue encontrado en una documentación de los años 80. El circuito es sincronizado por una señal externa, pudiendo funcionar como un shield para microcontroladores.

Este circuito con osciladores TTL y un operacional 741 fue encontrado en una documentación de los años 80. El circuito es sincronizado por una señal externa, pudiendo funcionar como un shield para microcontroladores.
