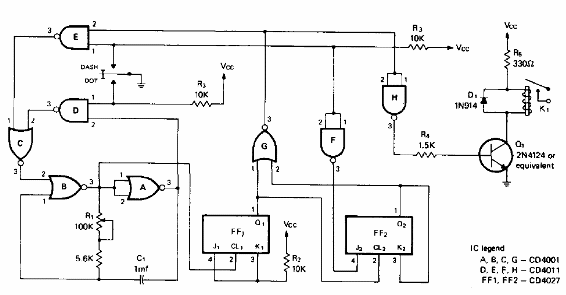
Encontramos este circuito en una documentación para radioaficionados de 1975. El circuito genera puntos y trazos con intervalos precisos a partir de un manipulador de dos posiciones. El circuito es CMOS y su alimentación debe ser hecha de acuerdo con la tensión del relé utilizado, entre 5 y 2 V. El transistor puede ser el BC548.




