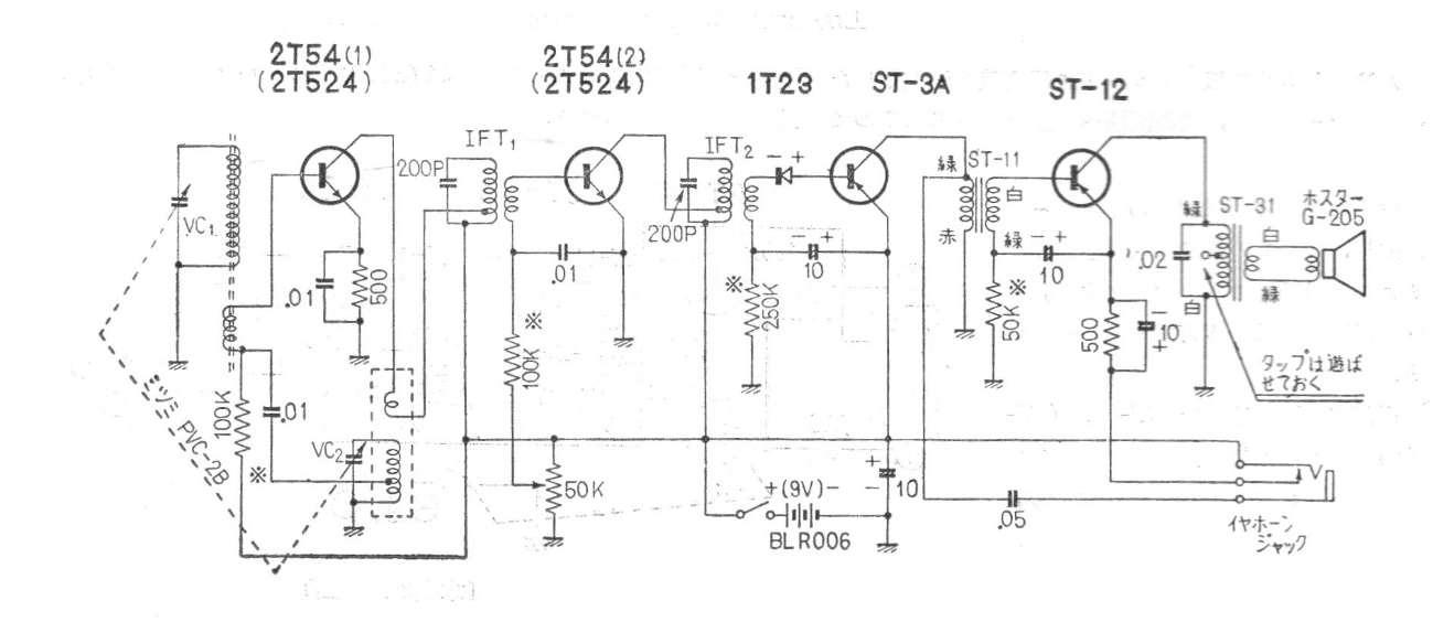
Se trata de un circuito comercial para una radio AM con 4 transistores, publicado en una revista japonesa en 1967. Los transistores son de esa época y tanto las bobinas como los transformadores son comerciales, difíciles de conseguir en la actualidad.




