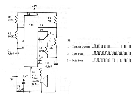
Este circuito genera unas formas tonales muy interesantes habiendo sido encontradas en una documentación americana traducida de los años 80. El circuito puede ser alimentado por tensiones de 5 a 12 V y hace uso de un doble 555, es decir, el 556. La salida también puede ser aplicada a un amplificador externo.




