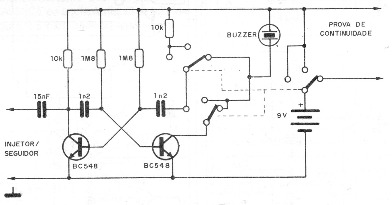
Este sencillo circuito, alimentado por 4 baterías o batería de 9 V, reúne varias funciones de gran utilidad en el taller de reparaciones y pruebas de electrónica. La señal rectangular generada tiene armónicos que abarcan un amplio rango de frecuencias, lo que permite realizar pruebas de audio y RF.




