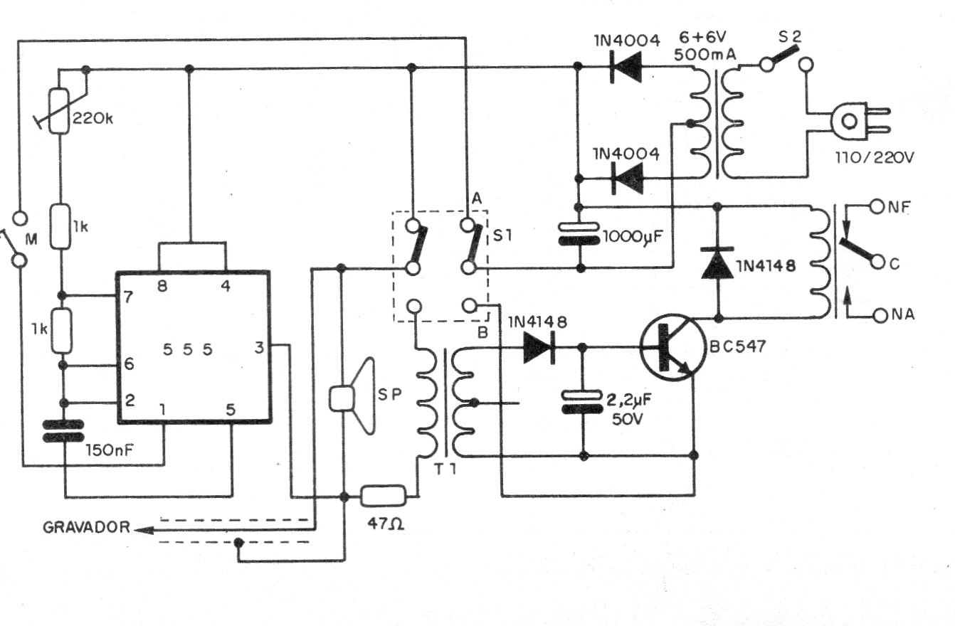
Este proyecto de los 90 muestra cómo usar una vieja grabadora de casetes para practicar la telegrafía. En la posición A de la llave se graba la señal a transmitir y con la llave en la posición B se puede transmitir o reproducir.
Este circuito simple hace que un LED parpadee al ritmo de la música de pequeños aparatos de sonido...
Nuestro proyecto consiste en un simple electroimán que, alimentado por una pila común puede atraer...
Las pilas recargables o las baterías de Nicad consisten en una de las fuentes de energía más...