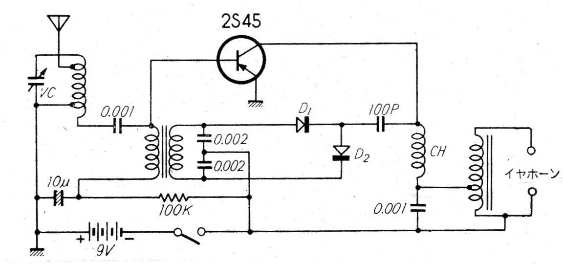
Esta sencilla radio transistorizada fue encontrada en una revista japonesa de 1960. El teléfono debe estar hecho de cristal y el transistor está hecho de germanio. La bobina de la antena puede tener 10 + 60 + 10 vueltas de alambre 28 en una varilla de ferrita.




