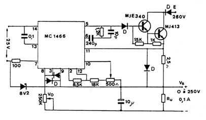
Los componentes utilizados en este proyecto de regulador de una documentación antigua no son muy comunes en la actualidad. Esta fuente variable puede suministrar tensiones de hasta 250 V con una corriente de 1,1 A. Los transistores de potencia deben estar equipados con buenos disipadores de calor.




