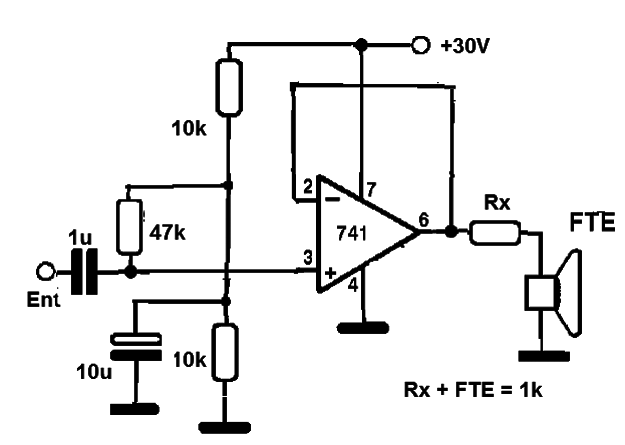
Adaptamos este circuito que se encuentra en la Radio Electrónica de marzo de 1990. La revista ya no existe, pero el circuito se puede montar fácilmente. En lugar de Rx y un altavoz de baja impedancia se puede utilizar con un pequeño transformador de radio transistorizado. La fuente de alimentación no necesita ser simétrica y es de 6 a 30 V. Esto es una versión mejorada del circuito anterior, con un mejor rendimiento y estabilidad. La ventaja de este circuito es el uso de una sola fuente de alimentación. La impedancia de entrada es alta y la fuente debe tener una excelente filtraje.




