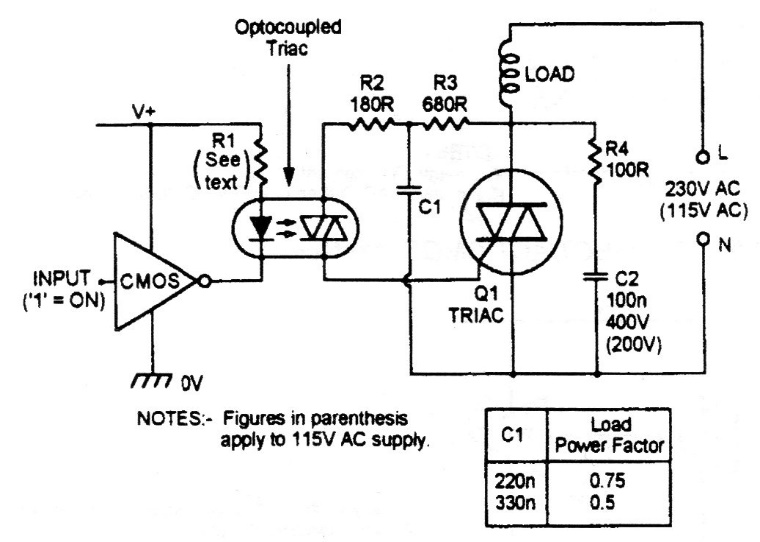
Este escudo, que se encuentra en la documentación en inglés antiguo, aparece con variaciones en otras partes de esta sección y en el sitio web. El circuito está diseñado para impulsar cargas de CA inductivas como motores y solenoides. Puede impulsar un triac alimentado por CA de alta potencia desde una salida CMOS o directamente desde un microcontrolador. La activación se realiza con la salida a bajo nivel. R1 tendrá 220 ohms para salidas de 3,3 V y 330 ohms para salidas de 5 V. Se puede utilizar cualquier optodiac, dependiendo de la tensión de red.




