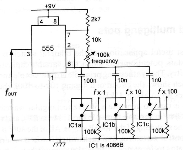
Podemos controlar la frecuencia de un oscilador desde circuitos digitales o desde la salida de un microcontrolador con el circuito que se muestra en la figura. Dependiendo de la salida de control activada o su combinación, colocamos capacitores de diferentes valores en el circuito y así tenemos diferentes frecuencias para el 555. El control se realiza por la tensión del microcontrolador que debe alimentar el interruptor CMOS, aunque el 555 Puede ser alimentado con tensión diferente.




