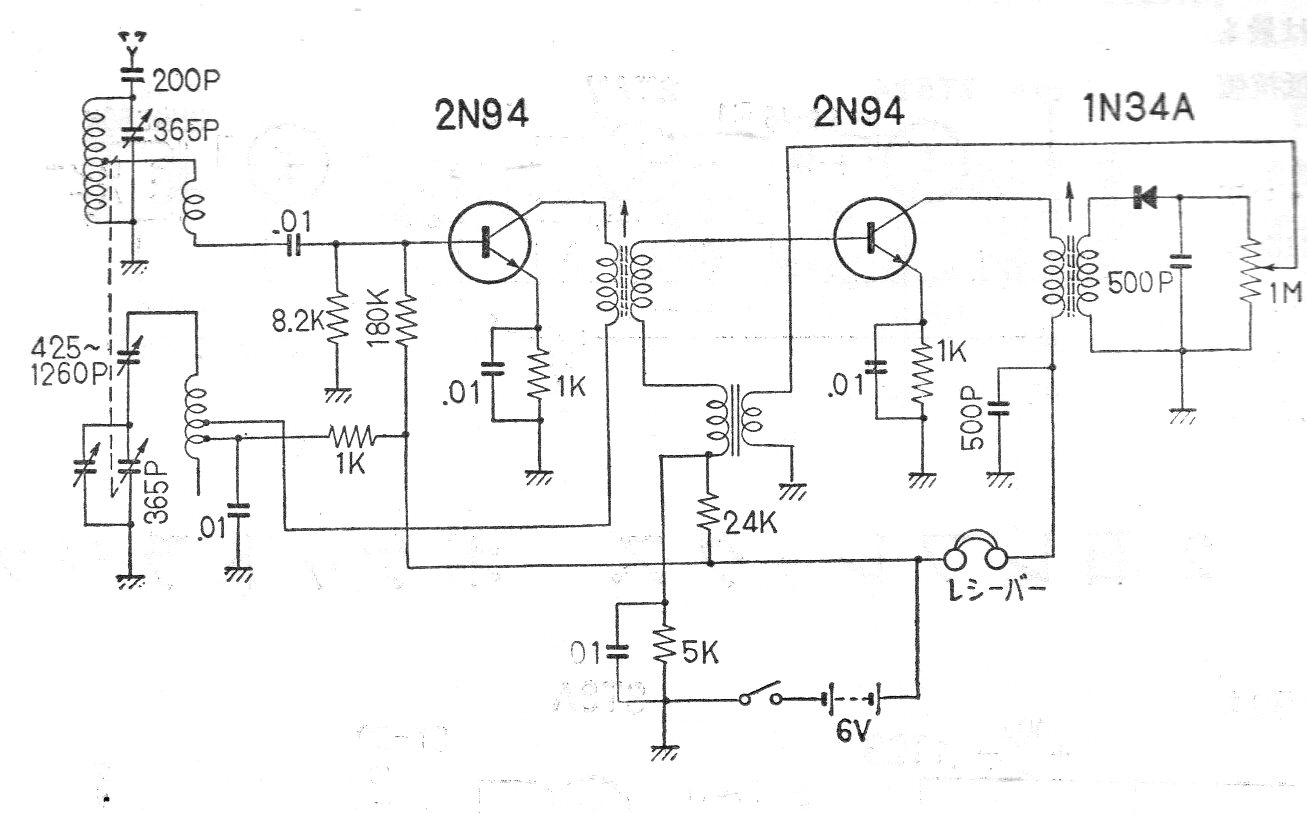
Este circuito es de una documentación de 1967. El circuito usa transistores de germanio y tiene una configuración inusual. Las bobinas dependen de la frecuencia sintonizada y no se dan detalles de su construcción. El auricular tiene alta impedancia.
El circuito mostrado en la figura es sugerido por Texas Instruments y permite la transmisión de datos en...
Esta fuente de alimentación se encuentra en una documentación de 1958. La corriente es entre 500...
Este simple circuito expandible se obtuvo de una Popular Electronics de los años 80. La tensión de...