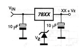
Se puede cambiar la tensión de salida de un regulador fijo de 3 terminales con la utilización de un diodo zener. La tensión del diodo zener se sumará a la tensión del regulador para obtener en la salida una tensión de XX + Vz, donde XX es la tensión del regulador, por ejemplo 6 V para el 7806 (78XX), y Vz es la tensión del regulador, diodo zener. Una tensión de 7,5 V puede obtenerse con un zener de 1,5 V. La tensión de entrada debe ser por lo menos 2 V mayor que la tensión de salida y no debe ser mayor de 28 V por encima de este valor. El circuito se muestra en la figura.




