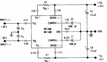
El circuito integrado utilizado en esta configuración es poco común. Se trata de un regulador de fuente simétrica con sólo un integrado, sugerido por el Linear Databook de Motorola de 1990.

El circuito integrado utilizado en esta configuración es poco común. Se trata de un regulador de fuente simétrica con sólo un integrado, sugerido por el Linear Databook de Motorola de 1990.
