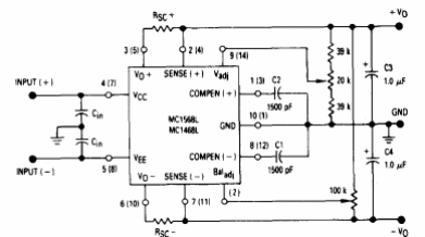
El circuito integrado utilizado en este proyecto es poco común. Encontramos esta configuración en el Linear Databook de Motorola. La corriente de salida es de sólo 50 mA.

El circuito integrado utilizado en este proyecto es poco común. Encontramos esta configuración en el Linear Databook de Motorola. La corriente de salida es de sólo 50 mA.
