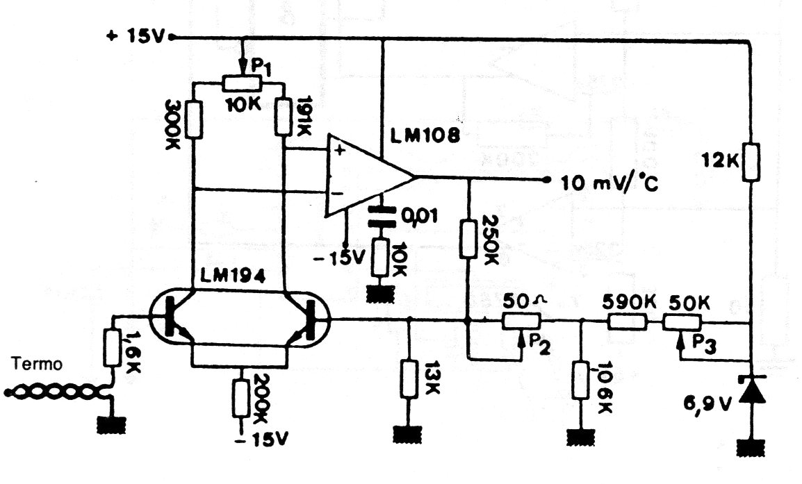
El par de transistores integrados (casados) puede ser sustituido por un par casado obtenido experimentalmente y el amplificador operacional puede ser sustituido por equivalente. Este circuito es de un manual antiguo de circuitos integrados lineales. La fuente de alimentación debe ser simétrica.




