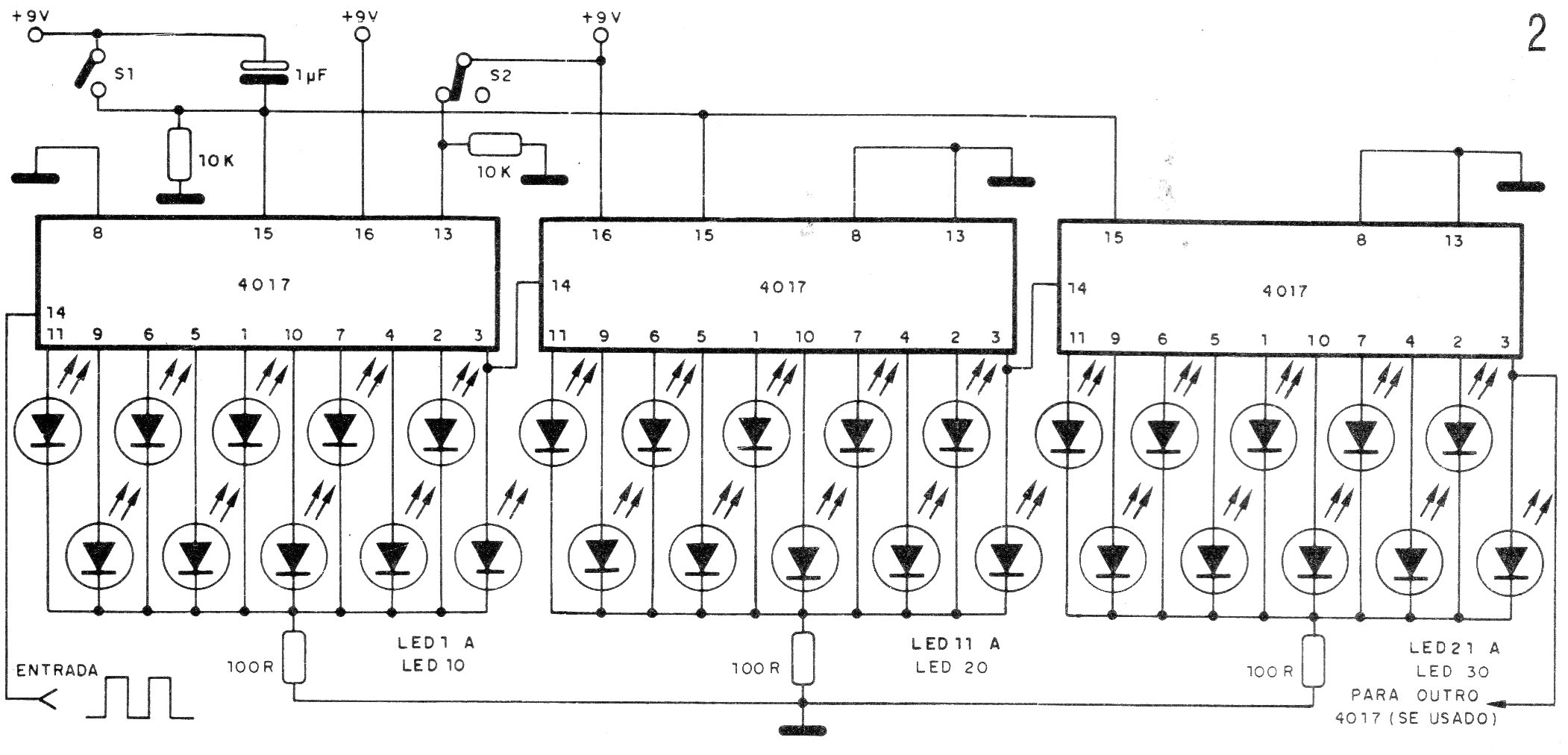
Este contador digital de pulsos ofrece una indicación por LEDs. Su frecuencia máxima es del orden de 5 MHz y la señal de entrada es rectangular, libre de repiques, y la alimentación puede ser hecha con tensiones de 5 a 12 V. El circuito es de una documentación antigua pero totalmente actual, pudiendo ser usado incluso como shield de control para microcontroladores.




