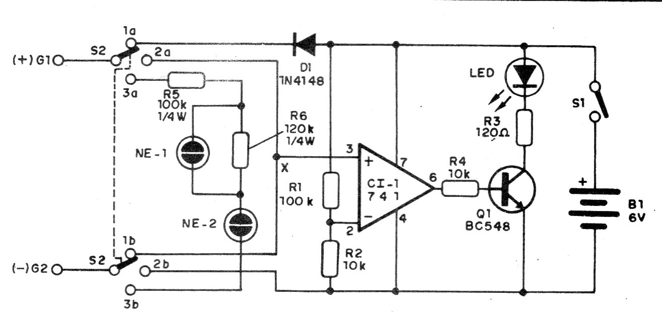
Este simple circuito encontrado en una documentación de 1992 permite verificar tensiones alternas de un circuito o aún hacer pruebas de continuidad. La indicación es hecha por lámparas neon para el caso de tensiones de la red y LED para pruebas de baja tensión. Se debe tener mucho cuidado para no usar la llave en la posición de baja para probar tensiones de la red, pues si eso ocurre el circuito se quema.




