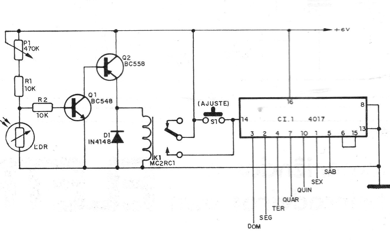
El cambio diario de este calendario es hecho por la luz del día que activa un relé produciendo el pulso de cuenta. El circuito es de 1987 precisando eventualmente de ajustes, por ejemplo, para retirar el repique de los contactos del relé. El circuito debe ser alimentado por fuente, pues el relé queda activado en la oscuridad. Se puede crear un sistema de disparo para evitar este problema.




